Вимірювання та якість електроенергії
Захист та комутація електромереж
Промислова автоматизація та керування
Каталог товарів
Ізолятори
Ізолятор nVent Eriflex ISO ТР 100M12
Артикул: 548680
В наявності
2524 грн
Замовлення кратне 1-му
Купити У кошику
Купити в 1 клік
Доставка
Оплата
Гарантія та умови повернення
Самовивіз з нашого складу
безкоштовно
«Новою поштою» по Україні
за тарифами перевізника
 Кур'єром до дверей
від 70 грн.
Кредитною карткою
Розрахунковий рахунок
Повернення товару протягом 14 днів
Опис
Характеристики
Документи

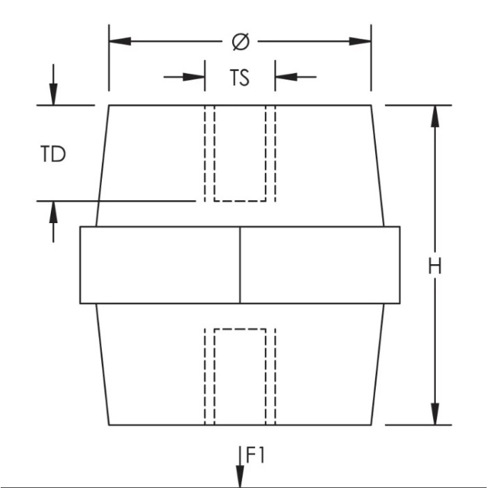
Ізолятори низької напруги, метрична різьба, 100 мм, шестигранна ширина 65 мм, різьба M12


особливості


  • Без галогенів
  • Висока стійкість до струму витоку
  • Велика стабільність електричних і механічних параметрів
  • Армований скловолокном
  • UL® Визнано в E125470 і оцінено на діелектричну стійкість до 1500 В змінного/постійного струму
  • Відповідає RoHS

Характеристики
Бренд :
nVent Eriflex
Відповідно до :
IEC® 60695-2-11 (випробування розжареним дротом 960 °C)
Вага :
0.48 кг
Виробник :
nVent ERIFLEX (ERICO)
Висота :
100 мм
Глибина :
75 мм
Глибина різьби (TD) :
20 мм
Діаметр :
46 мм
Діелектрична міцність, IEC 61439.1 :
3500 змінного струму за 1 хв В
Діелектрична міцність, UL :
1500 В
Кількість в пакуванні :
1 шт
Країна походження :
Франція
Країна реєстрації бренду :
США
Матеріал :
Сталь. Армований скловолокном поліамід
Напруга ізоляції :
1000; 1500 В
Покриття :
Гальванізація
Рейтинг займистості :
UL® 94V-0
Розмір різьби :
M12 TS1
Статичне навантаження 1 (F1) :
1500 Н
Статичне навантаження 2 (F2) :
1000 Н
Температура експлуатації :
-40...+130 °C
Ширина шестикутника (W) :
65 мм
Дивіться також
Ізолятор nVent Eriflex ISO TP 60M10
Артикул: 548610
960 грн
Ізолятор nVent Eriflex ISO TP 40M10
Акція
Ізолятор nVent Eriflex ISO TP 40M10
Артикул: 548520
371 грн
Ізолятор nVent Eriflex ISO TP 50M6
Артикул: 548570
781 грн
Ізолятор nVent Eriflex ISO TP 45M10
Акція
Ізолятор nVent Eriflex ISO TP 45M10
Артикул: 548560
212 грн
Ізолятор nVent Eriflex ISO TP 20M4
Акція
Ізолятор nVent Eriflex ISO TP 20M4
Артикул: 548410
209 грн
Ізолятор nVent Eriflex ISO TP 50M8
Артикул: 548580
813 грн
Ізолятор nVent Eriflex ISO TP 80 MM8×17/FM8×15
Акція
Ізолятор nVent Eriflex ISO TP 50M10
Артикул: 548590
813 грн
Ізолятор nVent Eriflex ISO TP 50 MM8×17/FM8×15
Акція
Ізолятор nVent Eriflex ISO TP 60M8
Артикул: 548600
960 грн
Ізолятор nVent Eriflex ISO TP 15M4
Акція
Ізолятор nVent Eriflex ISO TP 15M4
Артикул: 548400
194 грн
Ізолятор nVent Eriflex ISO 70M12
Артикул: 551620
Очікується
Ізолятор nVent Eriflex ISO TP 35M6L
Артикул: 548470
428 грн
Ізоболт nVent Eriflex 25 M6
Акція
Ізоболт nVent Eriflex 25 M6
Артикул: 552200
118 грн
Ізолятор nVent Eriflex ISO TP 30M10
Артикул: 548451
386 грн
Відгуки (0)
Написати відгук
Переглянуті товари
Ізолятор nVent Eriflex ISO TP 40M10
Акція
Ізолятор nVent Eriflex ISO TP 40M10
Артикул: 548520
371 грн
Ізолятор nVent Eriflex ISO TP 50M6
Артикул: 548570
781 грн
Наконечник кільцевий ERKO KOE 0.5–1.0
Акція
Наконечник кільцевий ERKO KOE 0.5–1.0
Артикул: KOE_6-1 (100 шт)
472 грн
Модуль nVent Eriflex CABS 2/10 TN MOD
Артикул: 549350
2141 грн
Наконечник кільцевий ERKO KOE 1.5–2.5
Акція
Наконечник кільцевий ERKO KOE 1.5–2.5
Артикул: KOE_8-2,5/100
660 грн
Ізолятор nVent Eriflex ISO ТР 40M8
Артикул: 548510
606 грн
Наконечник кабельний Vector VS Snails 95-10
Артикул: 95-10 КОР-VS-МЛ
216 грн
Наконечник кабельний Vector VS Snails 50-8
Артикул: 50-8 КОР-VS-МЛ
119 грн
Скоба nVent Eriflex CABS SV
Акція
Скоба nVent Eriflex CABS SV
Артикул: 549470
802 грн
Наконечник кабельний Vector VS Snails 50-12
Артикул: 50-12 КОР-VS-МЛ
129 грн
Разом із цим товаром купують
Трансформатори струму
Wave Plus
Тримачі запобіжників
Контактори