Вимірювання та якість електроенергії
Промислова автоматизація та керування
Каталог товарів
Ізолятори
Ізолятор nVent Eriflex ISO TP 60М16
Артикул: 548602
В наявності
1347 грн
Замовлення кратне 1-му
Купити У кошику
Купити в 1 клік
Доставка
Оплата
Гарантія та умови повернення
Самовивіз з нашого складу
безкоштовно
«Новою поштою» по Україні
за тарифами перевізника
 Кур'єром до дверей
від 70 грн.
Кредитною карткою
Розрахунковий рахунок
Повернення товару протягом 14 днів
Опис
Характеристики
Документи

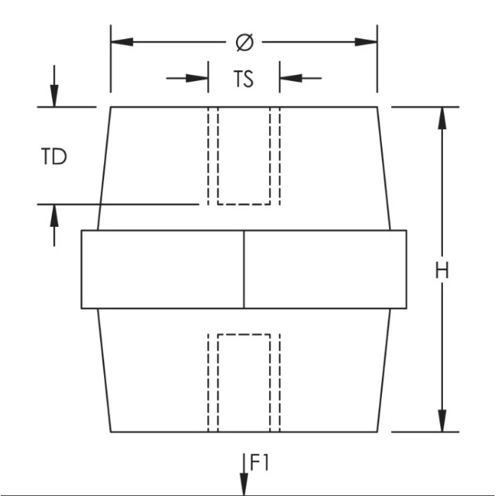
Ізолятори низької напруги, метрична різьба, 60 мм, шестигранна ширина 55 мм, різьба M16


особливості


  • Без галогенів
  • Висока стійкість до струму витоку
  • Велика стабільність електричних і механічних параметрів
  • Армований скловолокном
  • UL® Визнано в E125470 і оцінено на діелектричну стійкість до 1500 В змінного/постійного струму
  • Відповідає RoHS

Характеристики
Бренд :
nVent Eriflex
Відповідно до :
IEC® 60695-2-11 (випробування розжареним дротом 960 °C)
Вага :
0.35 кг
Виробник :
nVent ERIFLEX (ERICO)
Висота :
60 мм
Глибина :
63 мм
Глибина різьби (TD) :
20 мм
Діаметр :
44 мм
Діелектрична міцність, IEC 61439.1 :
3500 змінного струму за 1 хв В
Діелектрична міцність, UL :
1500 В
Кількість в пакуванні :
1 шт
Країна походження :
Франція
Країна реєстрації бренду :
США
Матеріал :
Сталь. Армований скловолокном поліамід
Напруга ізоляції :
1000; 1500 В
Покриття :
Гальванізація
Рейтинг займистості :
UL® 94V-0
Розмір різьби :
M16 TS1
Статичне навантаження 1 (F1) :
1500 Н
Статичне навантаження 2 (F2) :
1000 Н
Температура експлуатації :
-40...+130 °C
Ширина шестикутника (W) :
55 мм
Дивіться також
Ізолятор nVent Eriflex ISO TP 60M12
Артикул: 548601
979 грн
Ізолятор nVent Eriflex ISO TP 35M10
Артикул: 548490
512 грн
Ізолятор nVent Eriflex ISO ТР 45M6
Артикул: 548530
616 грн
Ізолятор nVent Eriflex ISO ТР 40M8
Артикул: 548510
616 грн
Ізолятор FRER H45 CH46 M12
Артикул: SEP4546D
546 грн
Ізолятор nVent Eriflex ISO TP 40M10
Акція
Ізолятор nVent Eriflex ISO TP 40M10
Артикул: 548520
378 грн
Ізолятор nVent Eriflex ISO TP 60M10
Артикул: 548610
976 грн
Ізолятор nVent Eriflex ISO TP 45M10
Акція
Ізолятор nVent Eriflex ISO TP 45M10
Артикул: 548560
215 грн
Ізолятор nVent Eriflex ISO TP 50M6
Артикул: 548570
795 грн
Ізолятор nVent Eriflex ISO TP 50M8
Артикул: 548580
827 грн
Ізолятор nVent Eriflex ISO TP 20M4
Акція
Ізолятор nVent Eriflex ISO TP 20M4
Артикул: 548410
213 грн
Ізолятор nVent Eriflex ISO TP 60M8
Артикул: 548600
976 грн
Ізолятор nVent Eriflex ISO TP 80 MM8×17/FM8×15
Акція
Ізолятор nVent Eriflex ISO 70M12
Артикул: 551620
Очікується
Ізолятор nVent Eriflex ISO TP 50 MM8×17/FM8×15
Акція
Відгуки (0)
Написати відгук
Переглянуті товари
Ізолятор nVent Eriflex ISO ТР 45M6
Артикул: 548530
616 грн
Модуль nVent Eriflex ABS 2/10
Артикул: 560890
3008 грн
Ізолятор nVent Eriflex ISO ТР 100M12
Артикул: 548680
2567 грн
Ізолятор nVent Eriflex ISO TP 60M8
Артикул: 548600
976 грн
Фундамент JAKMET FN53
Артикул: FN53
8010 грн
Ізолятор nVent Eriflex ISO TP 40M10
Акція
Ізолятор nVent Eriflex ISO TP 40M10
Артикул: 548520
378 грн
Модуль nVent Eriflex CABS 4/5 T MOD
Артикул: 549370
1704 грн
Наконечник кільцевий ERKO KOE 0.5–1.0
Акція
Наконечник кільцевий ERKO KOE 0.5–1.0
Артикул: KOE_4-1/100
422 грн
Разом із цим товаром купують
Шинотрмичі
Трансформатори струму
Wave Plus
Тримачі запобіжників