VectorVS
Каталог
+38 (044) 369 51 57
Вимірювання та якість електроенергії
Промислова автоматизація та керування
Каталог товарів
Шина гнучка в ізоляції (луджена)
Шина мідна луджена гнучка в ізоляції nVent ERIFLEX Flexibar Advanced 8х6х0,5 L2m 166A - 534000
Артикул: 534000
В наявності
0
Відгуків: 0
2460 грн
Замовлення кратне 1-му
Купити У кошику
Купити в 1 клік
Доставка
Оплата
Гарантія та умови повернення
Самовивіз з нашого складу
безкоштовно
«Новою поштою» по Україні
за тарифами перевізника
 Кур'єром до дверей
від 70 грн.
Кредитною карткою
Розрахунковий рахунок
Повернення товару протягом 14 днів
Опис
Характеристики
Документи

Шина мідна луджена гнучка в ізоляції nVent ERIFLEX Flexibar Advanced 8×6×0,5 L2m 166А

nVent ERIFLEX Flexibar Advanced 8×6×0,5 L2m 166А — це високотехнологічне рішення для передачі електроенергії, яке поєднує в собі гнучкість, безпеку та ефективність. Ідеально підходить для щитового обладнання, систем керування, інверторів, компактних розподільчих пристроїв та заземлення.

Основні переваги:

  • Висока струмопровідність — витримує навантаження до 166А, забезпечуючи стабільну роботу навіть у компактних системах.
  • Гнучка конструкція — зручно для монтажу в обмеженому просторі або на вигинах.
  • Надійна ізоляціянизькогалогенна термостійка оболонка гарантує безпеку в умовах підвищеної температури та пожежної небезпеки.
  • Луджена мідь — зменшує втрати та підвищує довговічність контактних з’єднань.
  • Екологічність — шина не містить ПВХ і відповідає стандартам RoHS.

Технічні характеристики:

  • Розмір: 8×6×0,5 мм
  • Кількість шарів: 8
  • Довжина: 2 метри
  • Матеріал провідника: луджена мідь
  • Номінальний струм: 166 А
  • Температурний діапазон: до +115°C постійної роботи
  • Клас вогнестійкості: UL94-V0

Застосування:

  • Промислові та комутаційні щити
  • Системи заземлення
  • Електромонтаж у вузьких просторах
  • Сонячні інвертори
  • Автоматизоване обладнання

Купити гнучку шину nVent ERIFLEX Flexibar 8×6×0,5 L2m 166А за найкращою ціною

Замовляйте гнучку мідну шину в ізоляції nVent ERIFLEX Flexibar з офіційною гарантією та швидкою доставкою по Україні. Працюємо з оптовими та роздрібними клієнтами. Консультації та технічна підтримка — безкоштовно.

???? Зв’яжіться з нами або оформіть замовлення онлайн прямо зараз!

Характеристики
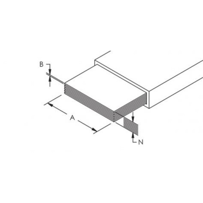
A :
6 мм
B :
0.5 мм
Інформація про сертифікацію :
UL® 67; UL® 758 відповідає IEC® 60695-2-11 (випробування розжареним дротом 960 °C); IEC® 61439.1; IEC® 61439.1 клас II
Бренд :
nVent Eriflex
Відповідно до :
IEC® 60695-2-11 (випробування розжареним дротом 960 °C); IEC® 61439.1; IEC® 61439.1 клас II
Відсутність галогенів згідно із :
UL® 2885; IEC® 60754-1; IEC® 62821-1
Вага :
0.35 кг
Діелектрична міцність :
20 кВ/мм
Довжина :
2000 мм
Кількість в пакуванні :
1 шт
Кількість пластин (N) :
8 шт
Коефіцієнт струму двох шин на фазу :
1,72
Коефіцієнт струму трьох шин на фазу :
2,25
Країна походження :
Франція
Країна реєстрації бренду :
США
Максимальна робоча напруга, EN 50264-3-1 :
6000 В
Максимальна робоча напруга, UL/CSA/IEC :
1000; 1500 В
Матеріал :
Мідь
Матеріал ізоляції :
Термопластичний еластомер
Переріз :
24 мм²
Подовжуюча здатність ізоляції :
500 %
Покриття :
Луджена
Рівень задимлення :
IEC® 61034-2; ISO 5659-2; UL® 2885
Рівень задимлення, токсичність та кислотність :
IEC® 60754-2
Рейтинг займистості :
UL® 94V-0
Рейтинг стійкості до ультрафіолету :
UL® 854; UL® 2556
Температура експлуатації :
-50...+115 °C
Типовий номінальний струм :
125 А
Товщина ізоляції :
1.8 мм
∆T 40 °C :
143 A
∆T 50 °C :
166 A
∆T 60 °C :
182 A
Сертифікати
1723660712_Certifications.rar 1723660713_Declarations.rar 1723664264_Test Report.rar 1723664264_Specifications.rar 1724062592_Сертифікат якості_SofiaMed_25.01.2024_шина.pdf 1724091510_Certifications.rar 1724091510_Declarations.rar 1724091510_Test Report.rar 1724091511_Specifications.rar 1757261000_№1. Сертифікат ІЕС по напрузі.pdf 1757261001_№2. Сертифікат відповідності для аксесуарів для щитових та комутаторів.pdf 1757261001_№3. Сертифікат відповідності для одножильного проводу з термопластичною ізоляцією.pdf 1757261001_№4. Сертифікат затвердження типу (ізольована шина низької напруги).pdf 1757261001_№5. Сертифікат на проведення тесту розжареним дротом.pdf 1757261001_№6. Сертифікат на підтвердження вогнестійкості класу HL3.pdf 1757261001_№7. Сертифікат на тестування непрозорості диму.pdf 1757261001_№8. Оцінка відповідності шин з ізоляцією Eriflex типу Eriflex Flexibar Advanced.pdf 1757261001_№9. Сертифікат відповідності для матеріалів електропроводки приладів.pdf 1757261001_№10. Сертифікат на підтвердження вогнестійкості класу UL94-V0.pdf 1757261001_№11. Декларація про відповідність щодо європейських директив.pdf 1757261001_№12. Сертифікат на проведення тестування УФ-випромінюванням.pdf 1757261582_Декларація про відповідність щодо вимог California Proposition 65.pdf 1757261582_Декларація про відповідність щодо вимог REACH Regulation (EC 1907-2006).pdf 1757261582_Декларація про відповідність щодо вимог RoHS Directive 2011-65-EU та поправки 2015-863-EU.pdf 1757261582_Декларація про відповідність щодо вимог Toxic Substances Control Act (TSCA).pdf
Дивіться також
Відгуки (0)
Написати відгук