VectorVS
Каталог
+38 (044) 369 51 57
Вимірювання та якість електроенергії
Промислова автоматизація та керування
Каталог товарів
Шина гнучка в ізоляції (луджена)
Шина мідна луджена гнучка в ізоляції nVent ERIFLEX Flexibar Advanced 10х24х1 L2m 800A - 534022
Артикул: 534022
В наявності
0
Відгуків: 0
13374 грн
Замовлення кратне 1-му
Купити У кошику
Купити в 1 клік
Доставка
Оплата
Гарантія та умови повернення
Самовивіз з нашого складу
безкоштовно
«Новою поштою» по Україні
за тарифами перевізника
 Кур'єром до дверей
від 70 грн.
Кредитною карткою
Розрахунковий рахунок
Повернення товару протягом 14 днів
Опис
Характеристики
Документи

Шина мідна луджена гнучка в ізоляції nVent ERIFLEX Flexibar Advanced 10×24×1 L2m 800А

nVent ERIFLEX Flexibar Advanced 10×24×1 L2m 800А — це інноваційна гнучка мідна шина з високим струмовим навантаженням, що забезпечує надійну й безпечну передачу електроенергії в умовах промислової експлуатації. Луджене покриття провідників забезпечує додатковий захист від окислення, а термостійка ізоляція гарантує безпеку при високих температурах.

Основні переваги:

  • Висока провідність — витримує струм до 800А.
  • Гнучка конструкція — легко монтується навіть у складнодоступних місцях.
  • Надійна ізоляція — низькогалогенна, термостійка, безпечна для навколишнього середовища.
  • Лудження — покращує корозійну стійкість і знижує контактні втрати.
  • Сертифікована безпека — UL94-V0, відповідність сучасним електротехнічним нормам.

Технічні характеристики:

  • Розмір: 10×24×1 мм
  • Кількість шарів: 10
  • Довжина: 2 метри
  • Матеріал провідника: луджена мідь
  • Номінальний струм: 800 А
  • Робоча температура: до +115°C
  • Клас вогнестійкості: UL94-V0

Застосування:

  • Електророзподільчі щити
  • Промислове електрообладнання
  • Інверторні системи
  • Сонячні та вітрові електростанції
  • Системи резервного живлення

Купити гнучку шину nVent ERIFLEX 10×24×1 L2m 800А з доставкою по Україні

Замовляйте гнучку шину в ізоляції nVent ERIFLEX Flexibar Advanced за найкращою ціною — офіційна гарантія, швидка доставка, професійна підтримка та консультації.

???? Залишайте заявку онлайн або телефонуйте — ми допоможемо з вибором!

Характеристики
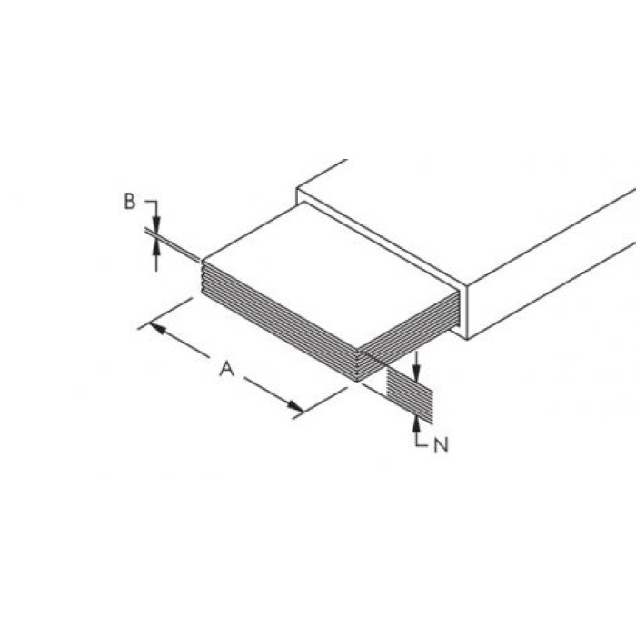
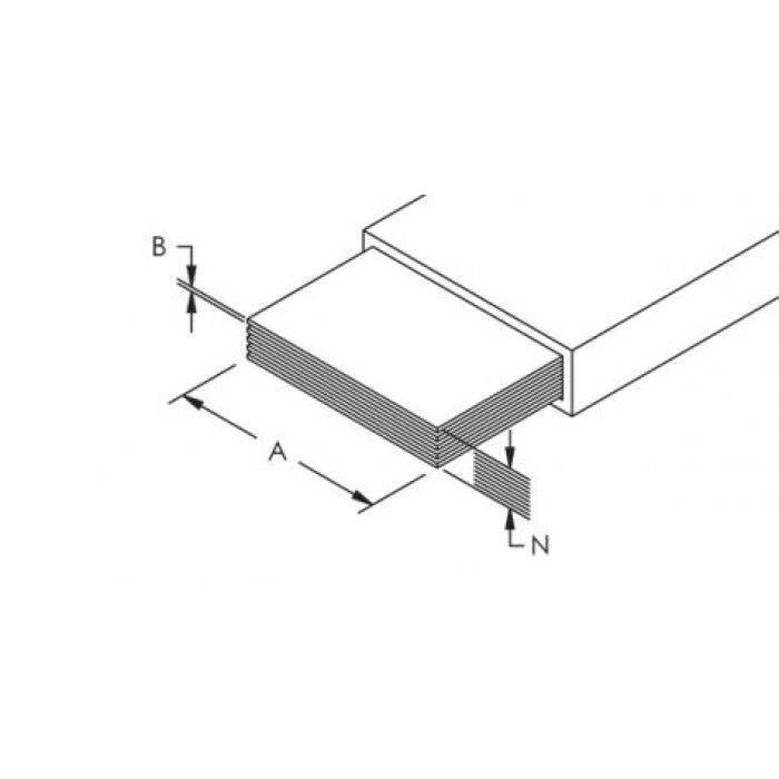
A :
24 мм
B :
1 мм
Інформація про сертифікацію :
UL® 67; UL® 758 відповідає IEC® 60695-2-11 (випробування розжареним дротом 960 °C); IEC® 61439.1; IEC® 61439.1 клас II
Бренд :
nVent Eriflex
Відповідно до :
IEC® 60695-2-11 (випробування розжареним дротом 960 °C); IEC® 61439.1; IEC® 61439.1 клас II
Відсутність галогенів згідно із :
UL® 2885; IEC® 60754-1; IEC® 62821-1
Вага :
4.75 кг
Діелектрична міцність :
20 кВ/мм
Довжина :
2000 мм
Кількість в пакуванні :
1 шт
Кількість пластин (N) :
10 шт
Коефіцієнт струму двох шин на фазу :
1,72
Коефіцієнт струму трьох шин на фазу :
2,25
Країна походження :
Франція
Країна реєстрації бренду :
США
Максимальна робоча напруга, EN 50264-3-1 :
6000 В
Максимальна робоча напруга, UL/CSA/IEC :
1000; 1500 В
Матеріал :
Мідь
Матеріал ізоляції :
Термопластичний еластомер
Переріз :
240 мм²
Подовжуюча здатність ізоляції :
500 %
Покриття :
Луджена
Рівень задимлення :
IEC® 61034-2; ISO 5659-2; UL® 2885
Рівень задимлення, токсичність та кислотність :
IEC® 60754-2
Рейтинг займистості :
UL® 94V-0
Рейтинг стійкості до ультрафіолету :
UL® 854; UL® 2556
Температура експлуатації :
-50...+115 °C
Типовий номінальний струм :
800 А
Товщина ізоляції :
1.8 мм
∆T 40 °C :
716 A
∆T 50 °C :
800 A
∆T 60 °C :
877 A
Сертифікати
1723660712_Certifications.rar 1723660713_Declarations.rar 1723664264_Test Report.rar 1723664264_Specifications.rar 1724062592_Сертифікат якості_SofiaMed_25.01.2024_шина.pdf 1724091510_Certifications.rar 1724091510_Declarations.rar 1724091510_Test Report.rar 1724091511_Specifications.rar 1757261000_№1. Сертифікат ІЕС по напрузі.pdf 1757261001_№2. Сертифікат відповідності для аксесуарів для щитових та комутаторів.pdf 1757261001_№3. Сертифікат відповідності для одножильного проводу з термопластичною ізоляцією.pdf 1757261001_№4. Сертифікат затвердження типу (ізольована шина низької напруги).pdf 1757261001_№5. Сертифікат на проведення тесту розжареним дротом.pdf 1757261001_№6. Сертифікат на підтвердження вогнестійкості класу HL3.pdf 1757261001_№7. Сертифікат на тестування непрозорості диму.pdf 1757261001_№8. Оцінка відповідності шин з ізоляцією Eriflex типу Eriflex Flexibar Advanced.pdf 1757261001_№9. Сертифікат відповідності для матеріалів електропроводки приладів.pdf 1757261001_№10. Сертифікат на підтвердження вогнестійкості класу UL94-V0.pdf 1757261001_№11. Декларація про відповідність щодо європейських директив.pdf 1757261001_№12. Сертифікат на проведення тестування УФ-випромінюванням.pdf 1757261582_Декларація про відповідність щодо вимог California Proposition 65.pdf 1757261582_Декларація про відповідність щодо вимог REACH Regulation (EC 1907-2006).pdf 1757261582_Декларація про відповідність щодо вимог RoHS Directive 2011-65-EU та поправки 2015-863-EU.pdf 1757261582_Декларація про відповідність щодо вимог Toxic Substances Control Act (TSCA).pdf
Дивіться також
Відгуки (0)
Написати відгук