Вимірювання та якість електроенергії
Захист та комутація електромереж
Промислова автоматизація та керування
Каталог товарів
Шина гнучка в ізоляції (червона)
Гнучка мідна шина в ізоляції Vector VS WAVE PLUS 2x24x1, 380A, L2000mm
Артикул: WPVS2421
В наявності
2496 грн
Замовлення кратне 1-му
Купити У кошику
Купити в 1 клік
Доставка
Оплата
Гарантія та умови повернення
Самовивіз з нашого складу
безкоштовно
«Новою поштою» по Україні
за тарифами перевізника
 Кур'єром до дверей
від 70 грн.
Кредитною карткою
Розрахунковий рахунок
Повернення товару протягом 14 днів
Опис
Характеристики
Документи

Гнучка мідна шина в ізоляції Vector VS WPVS 2x24x1, 380A, L2000mm — це ізольована гнучка мідна шина, розроблена для компактних, надійних і безпечних силових низьковольтних з’єднань (<1000V AC, <1500V DC), та є розширенням лінійки мідних гнучких шин WAVE VS.

Продукт базується на багатошаровому мідному провіднику (марка міді: Cu-ETP, Cu > 99.9%) та спеціальній ізоляції, котра поєднує одразу три критично важливі властивості: низьке димовиділення, відсутність галогенів та вогнестійкість із самозагасанням (рейтинг вогнестійкості: UL94-V0). Це робить продукт безпечнішим для людей та обладнання, особливо в замкнених просторах та відповідних електроустановках.

Завдяки цьому WAVE Plus відрізняється винятковою гнучкістю та легко формується шляхом згинання, скручування й складання, спрощуючи компоновку різних типів розподільчих пристроїв.

Характеристики:

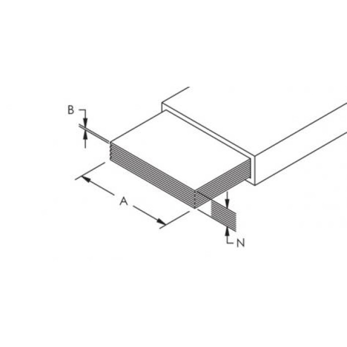
  • A: 24 мм
  • B: 1 мм
  • Типовий номінальний струм: 250 А
  • Переріз: 48 мм²
  • Довжина: 2000 мм
  • Бренд: Vector VS

 

WAVE Plus забезпечує пряме підключення без кабельних наконечників, що скорочує час монтажу, зменшує кількість точок відмови та підвищує надійність з’єднання. У порівнянні з традиційними кабелями та жорсткими шинами, рішення дозволяє економити простір і вагу, зберігаючи акуратний та професійний вигляд електричних панелей.

Це оптимальна альтернатива кабелям і жорстким шинам там, де потрібні гнучкість, компактність і підвищений рівень безпеки.

Характеристики
Бренд :
Vector VS
Серія :
WAVE Plus
Типовий номінальний струм :
250 А
Переріз :
48 мм²
Кількість пластин (N) :
2 шт
Ширина пластини (А) :
24 мм
Товщина пластини (B) :
1 мм
∆T 30 °C :
295 A
∆T 50 °C :
380 A
∆T 70 °C :
450 A
Коефіцієнт струму двох шин на фазу :
1.72
Коефіцієнт струму трьох шин на фазу :
2.25
Максимальна робоча напруга :
1000 В
Діелектрична міцність :
20 кВ/мм
Температура експлуатації :
-50…+115 °C
Матеріал :
Мідь Cu-ETP
Матеріал ізоляції :
Спеціальна суміш ПВХ
Товщина ізоляції :
1.8 мм
Подовжуюча здатність ізоляції :
500 %
Відповідно до :
EN 13599; EN 61439
Вогнестійкість :
UL94-V0
Вага :
1.24 кг
Країна походження :
Польща
Країна реєстрації бренду :
Україна
Довжина :
2000 мм
Норма відвантаження :
1 шт.
Гарантійний термін :
12 місяців
Аксесуари
Кришка nVent Eriflex 24
Артикул: 541775
260 грн
Фіксатори-проставки nVent Eriflex FS 24
Акція
Дивіться також
Відгуки (0)
Написати відгук
Трансформатори струму
Wave Plus
Тримачі запобіжників
Контактори