Вимірювання та якість електроенергії
Захист та комутація електромереж
Промислова автоматизація та керування
Каталог товарів
Шина гнучка в ізоляції (червона)
Гнучка мідна шина в ізоляції Vector VS WAVE PLUS 6x24x1, 566A, L2000mm
Артикул: WPVS2461
Немає в наявності
7420 грн
Повідомити
Доставка
Оплата
Гарантія та умови повернення
Самовивіз з нашого складу
безкоштовно
«Новою поштою» по Україні
за тарифами перевізника
 Кур'єром до дверей
від 70 грн.
Кредитною карткою
Розрахунковий рахунок
Повернення товару протягом 14 днів
Опис
Характеристики
Документи

Гнучка мідна шина в ізоляції Vector VS WPVS 6x24x1, 566A, L2000mm — це ізольована гнучка мідна шина, розроблена для компактних, надійних і безпечних силових низьковольтних з’єднань (<1000V AC, <1500V DC), та є розширенням лінійки мідних гнучких шин WAVE VS.

Продукт базується на багатошаровому мідному провіднику (марка міді: Cu-ETP, Cu > 99.9%) та спеціальній ізоляції, котра поєднує одразу три критично важливі властивості: низьке димовиділення, відсутність галогенів та вогнестійкість із самозагасанням (рейтинг вогнестійкості: UL94-V0). Це робить продукт безпечнішим для людей та обладнання, особливо в замкнених просторах та відповідних електроустановках.

Завдяки цьому WAVE Plus відрізняється винятковою гнучкістю та легко формується шляхом згинання, скручування й складання, спрощуючи компоновку різних типів розподільчих пристроїв.

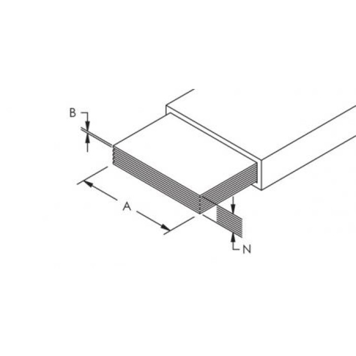
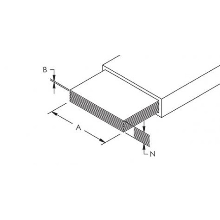
Характеристики:

  • A: 24 мм
  • B: 1 мм
  • Типовий номінальний струм: 500 А
  • Переріз: 144 мм²
  • Довжина: 2000 мм
  • Бренд: Vector VS

 

WAVE Plus забезпечує пряме підключення без кабельних наконечників, що скорочує час монтажу, зменшує кількість точок відмови та підвищує надійність з’єднання. У порівнянні з традиційними кабелями та жорсткими шинами, рішення дозволяє економити простір і вагу, зберігаючи акуратний та професійний вигляд електричних панелей.

Це оптимальна альтернатива кабелям і жорстким шинам там, де потрібні гнучкість, компактність і підвищений рівень безпеки.

Характеристики
Серія :
WAVE Plus
A :
24 мм
B :
1 мм
Довжина :
2000 мм
Кількість пластин (N) :
6 шт
Переріз :
144 мм²
Типовий номінальний струм :
500 А
∆T 30 °C :
438 A
∆T 50 °C :
566 A
∆T 70 °C :
670 A
Коефіцієнт струму двох шин на фазу :
1.72
Коефіцієнт струму трьох шин на фазу :
2.25
Максимальна робоча напруга :
1000 В
Діелектрична міцність :
20 кВ/мм
Температура експлуатації :
-50…+115 °C
Матеріал :
Мідь Cu-ETP
Матеріал ізоляції :
Спеціальна суміш ПВХ
Товщина ізоляції :
1.8 мм
Подовжуюча здатність ізоляції :
500 %
Відповідно до :
EN 13599; EN 61439
Вогнестійкість :
UL94-V0
Вага :
2.99 кг
Бренд :
Vector VS
Країна походження :
Польща
Країна реєстрації бренду :
Україна
Норма відвантаження :
1 шт.
Гарантійний термін :
12 місяців
Дивіться також
Відгуки (0)
Написати відгук
Wave Plus
Тримачі запобіжників
Контактори