Вимірювання та якість електроенергії
Захист та комутація електромереж
Промислова автоматизація та керування
Каталог товарів
Шина гнучка в ізоляції (червона)
Гнучка мідна шина в ізоляції Vector VS WAVE PLUS 9x63x1, 1498A, L2000mm
Артикул: WPVS6391
Немає в наявності
27289 грн
Повідомити
Доставка
Оплата
Гарантія та умови повернення
Самовивіз з нашого складу
безкоштовно
«Новою поштою» по Україні
за тарифами перевізника
 Кур'єром до дверей
від 70 грн.
Кредитною карткою
Розрахунковий рахунок
Повернення товару протягом 14 днів
Опис
Характеристики
Документи

Гнучка мідна шина в ізоляції Vector VS WPVS 9x63x1, 1498A, L2000mm — це ізольована гнучка мідна шина, розроблена для компактних, надійних і безпечних силових низьковольтних з’єднань (<1000V AC, <1500V DC), та є розширенням лінійки мідних гнучких шин WAVE VS.

Продукт базується на багатошаровому мідному провіднику (марка міді: Cu-ETP, Cu > 99.9%) та спеціальній ізоляції, котра поєднує одразу три критично важливі властивості: низьке димовиділення, відсутність галогенів та вогнестійкість із самозагасанням (рейтинг вогнестійкості: UL94-V0). Це робить продукт безпечнішим для людей та обладнання, особливо в замкнених просторах та відповідних електроустановках.

Завдяки цьому WAVE Plus відрізняється винятковою гнучкістю та легко формується шляхом згинання, скручування й складання, спрощуючи компоновку різних типів розподільчих пристроїв.

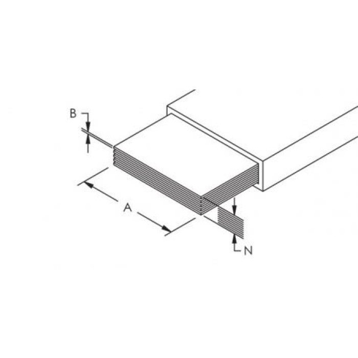
Характеристики:

  • A: 63 мм
  • B: 1 мм
  • Типовий номінальний струм: 1250 А
  • Переріз: 567 мм²
  • Довжина: 2000 мм
  • Бренд: Vector VS

 

WAVE Plus забезпечує пряме підключення без кабельних наконечників, що скорочує час монтажу, зменшує кількість точок відмови та підвищує надійність з’єднання. У порівнянні з традиційними кабелями та жорсткими шинами, рішення дозволяє економити простір і вагу, зберігаючи акуратний та професійний вигляд електричних панелей.

Це оптимальна альтернатива кабелям і жорстким шинам там, де потрібні гнучкість, компактність і підвищений рівень безпеки.

Характеристики
Бренд :
Vector VS
Серія :
WAVE Plus
Типовий номінальний струм :
1250 А
Переріз :
567 мм²
Кількість пластин (N) :
9 шт
Ширина пластини (А) :
63 мм
Товщина пластини (B) :
1 мм
∆T 30 °C :
1162 A
∆T 50 °C :
1498 A
∆T 70 °C :
1772 A
Коефіцієнт струму двох шин на фазу :
1.65
Коефіцієнт струму трьох шин на фазу :
2.12
Максимальна робоча напруга :
1000 В
Діелектрична міцність :
20 кВ/мм
Температура експлуатації :
-50…+115 °C
Матеріал :
Мідь Cu-ETP
Матеріал ізоляції :
Спеціальна суміш ПВХ
Товщина ізоляції :
1.8 мм
Подовжуюча здатність ізоляції :
500 %
Відповідно до :
EN 13599; EN 61439
Вогнестійкість :
UL94-V0
Країна походження :
Польща
Країна реєстрації бренду :
Україна
Довжина :
2000 мм
Норма відвантаження :
1 шт.
Гарантійний термін :
12 місяців
Аксесуари
Фіксатори-проставки nVent Eriflex RFS 40-63
Акція
Фіксатори-проставки nVent Eriflex FS 40-63
Акція
Дивіться також
Відгуки (0)
Написати відгук
Разом із цим товаром купують
Трансформатори струму
Wave Plus
Тримачі запобіжників
Контактори