VectorVS
Каталог
+38 (044) 369 51 57
Вимірювання та якість електроенергії
Промислова автоматизація та керування
Каталог товарів
Ізолятори
548700 Ізолятор ISO TP 25M5
Артикул: 548700
Немає в наявності
0
Відгуків: 0
226 грн
Повідомити
Доставка
Оплата
Гарантія та умови повернення
Самовивіз з нашого складу
безкоштовно
«Новою поштою» по Україні
за тарифами перевізника
 Кур'єром до дверей
від 70 грн.
Кредитною карткою
Розрахунковий рахунок
Повернення товару протягом 14 днів
Опис
Характеристики
Документи

Ізолятори низької напруги, метрична різьба, 25 мм, шестигранна ширина 19 мм, різьба M5


особливості


  • Без галогенів
  • Висока стійкість до струму витоку
  • Велика стабільність електричних і механічних параметрів
  • Армований скловолокном
  • UL® Визнано в E125470 і оцінено на діелектричну стійкість до 1500 В змінного/постійного струму
  • Відповідає RoHS

Характеристики
Бренд :
nVent Eriflex
Відповідно до :
IEC® 60695-2-11 (випробування розжареним дротом 960 °C)
Вага :
0.02 кг
Виробник :
nVent ERIFLEX (ERICO)
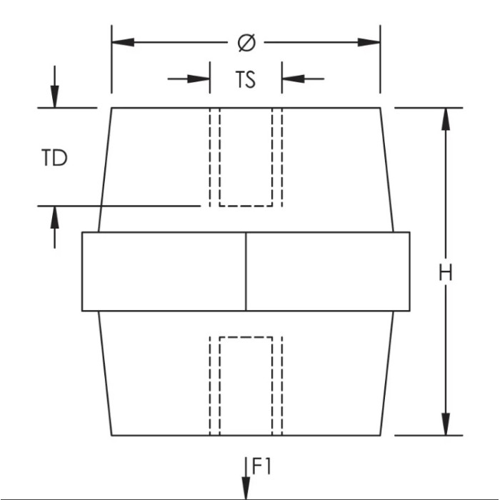
Висота :
25 мм
Глибина :
20 мм
Глибина різьби (TD) :
6 мм
Діаметр :
18 мм
Діелектрична міцність, IEC 61439.1 :
3500 змінного струму за 1 хв В
Діелектрична міцність, UL :
1500 В
Кількість в пакуванні :
1 шт
Країна походження :
Франція
Країна реєстрації бренду :
США
Матеріал :
Сталь. Армований скловолокном поліамід
Напруга ізоляції :
1000; 1500 В
Покриття :
Гальванізація
Рейтинг займистості :
UL® 94V-0
Розмір різьби :
M5 TS1
Статичне навантаження 1 (F1) :
1500 Н
Статичне навантаження 2 (F2) :
1000 Н
Температура експлуатації :
-40...+130 °C
Ширина шестикутника (W) :
19 мм
Сертифікати
1724111163_Certifications.rar 1724111163_Declarations.rar 1724111163_Specifications.rar 1757282244_№1. Сертифікат відповідності UL 891 та CSA C22.2 № 244-05.pdf 1757282244_№2. Сертифікат відповідності CSA.pdf 1757282244_№3. Документ синтезу ISO-TP.pdf 1757282244_№4. Декларація відповідності європейським директивам.pdf 1757282244_Декларація про відповідність щодо вимог California Proposition 65.pdf 1757282244_Декларація про відповідність щодо вимог REACH Regulation (EC 1907-2006).pdf 1757282244_Декларація про відповідність щодо вимог RoHS Directive 2011-65-EU та поправки 2015-863-EU.pdf 1757282245_Декларація про відповідність щодо вимог Toxic Substances Control Act (TSCA).pdf 1757282244_№1. Сертифікат відповідності UL 891 та CSA C22.2 № 244-05.pdf 1757282244_№2. Сертифікат відповідності CSA.pdf 1757282244_№3. Документ синтезу ISO-TP.pdf 1757282244_№4. Декларація відповідності європейським директивам.pdf 1757282244_Декларація про відповідність щодо вимог California Proposition 65.pdf 1757282244_Декларація про відповідність щодо вимог REACH Regulation (EC 1907-2006).pdf 1757282244_Декларація про відповідність щодо вимог RoHS Directive 2011-65-EU та поправки 2015-863-EU.pdf 1757282245_Декларація про відповідність щодо вимог Toxic Substances Control Act (TSCA).pdf
Відгуки (0)
Написати відгук